Y 型微通道兩相流內部流動特性
微流控芯片實驗室可將化學或生物實驗室微縮到一塊數平方厘米的芯片上,而微流控芯片在化學和生物醫學的多相流研究領域中有著廣泛的應用,如化學合成、生物制藥、藥物篩選,以及食品和化妝品行業中的乳化技術等. 與常規方法相比,用微通道產生的微滴具有較高的均一性,而且生成過程快,頻率高.
不同的應用領域中由于微流控芯片作用不同,對所形成液滴大小的要求也就不同. 因此,針對不同結構的微通道,合理控制和預測不同工況條件下液滴尺寸大小及生成周期,對工業應用有著重要的指導意義. 制約著生成液滴大小的因素有很多,如分散相黏度、兩相流動速度比值、微通道尺寸、壁面對兩相流的潤濕性等. 不同的交匯方式,兩相流型也存在差異,Zhao 等在 T 型入口處觀察到了彈狀流、單分散油滴、小滴群、光滑界面平行流、波動界面平行流、混亂細條紋流等流型. Cubaud 等研究了十字聚焦型微通道內液液兩相流的流型,觀測到螺紋型、噴射型、滴狀型、管狀型、滑移型 5 個流型. Dessimoz 等發現同樣條件下 Y 型入口的微通道中容易形成平行流. 駱廣生等提出液液非均相體系的流動與混合行為主要有 3 種形式:平行流、彈狀流、滴狀流.
對于微通道內部兩相液體流動狀態,也有學者利用顯微測速系統,針對不同的兩相交匯結構進行了實驗研究. Steijn 等通過顯微粒子成像測速系統對 T 型結構微通道內氣泡形成過程中流動區域進行了觀測. 分別觀察了微通道不同平面深度下連續相酒精的速度分布,并發現氣泡快速收縮發生在頸縮半徑為通道寬度的四分之一處. King 等利用 T型微通道,觀察到在不同液滴移動速度下液滴內部的速度變化,發現當液滴移動速度較快時,液滴內部速度呈現內循環流動.
根據微通道幾何構型、尺寸的不同,可以將其設計和改進成各種用途的微元器件,其中 T 型結構和聚焦型結構微通道是比較有效的方式,目前的研究成果較多. 而關于 Y 型微通道的研究多集中于兩相混合后的流型分析,對于液滴大小、形成周期的影響因素還缺少系統研究. 因此本研究以不同角度的 Y型微通道為研究對象,對液滴形成的大小及其影響因素進行分析,并從微通道內部速度矢量分布情況來進一步解釋不同情況下液滴形成周期、大小存在差異的原因.
1 實驗材料和方法
1.1 微通道尺寸及形狀
本文實驗所用微通道的材質為聚二甲基硅氧烷(PDMS). 主要加工方式為在微通道模板上澆注聚二甲基硅氧烷,隨后待聚二甲基硅氧烷凝固后脫模,最后將脫模后的聚二甲基硅氧烷與基板密封 (plasmatreat),加工粗糙度 6 0.2μm. 連續相、分散相微通道長均為 12 mm,主通道長 20 mm;Y 型微通道 Y 型角度 (α) 分別為 45?, 90?, 135?, 180?; 微通道截面為500μm×500μm 的矩形截面,如圖 1 所示.
圖 1 Y 型微通道示意圖
1.2 實驗裝置
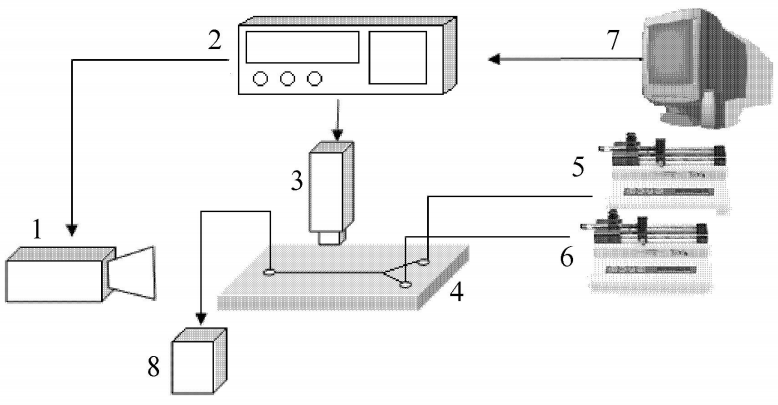
顯微粒子圖像測速技術 (micro-PIV) 是基于圖像分析的無擾動流場測量技術,實驗裝置圖如圖 2 所示. 實驗中采用直徑為 3.2μm 的示蹤粒子,為避免示蹤粒子粘連在微通道壁面上,向添加示蹤粒子的液體中加入 0.2% 的吐溫 20 (Tween20). 顯微鏡放大倍數為 5 倍,激光強度為 770. 此外實驗中還利用高速攝影技術對 Y 型微通道內兩相流動現象進行了圖像采集,每秒保存 250 幀. 分散相液體為液體石蠟,連續相液體為無水乙醇,實驗測量的液體性質參數見表 1. 實驗在室溫 (20?C) 及常壓條件下進行。
圖 2 Micro-PIV 實驗裝置圖
1 激光發生器;2 激光控制及同步器;3 CCD 和顯微鏡;4 微芯片;5 分散相微注射泵;6 連續相微注射泵;7 數據采集和分析系統;8 回收系統
表 1 20?C 時分散相、連續相液體的黏度、密度及界面張力

1.3 數值計算方法
本文利用計算流體力學軟件 CFD-ACE+ 進行三維數值模擬. 采用結構化六面體網格進行模擬,選用Y 型角度為 90? 微通道模型進行網格依賴性驗證,其中連續相入口流量 400 μL/min,分散相入口流量2 μL/min,不同網格量下計算所得液滴直徑及生成周期結果如表 2 所示. 在其他條件相同的情況下,網格數為 209 200 與網格數為 78 000 計算所得的液滴直徑及生成周期的相對誤差在 0.6% 以內,可見本模擬對網格的依賴性不大,因而可以采用網格數為 78 000進行數值模擬. 其余 Y 型角度的網格數集中在 7 萬至 8 萬之間。
表 2 網格依賴性比較
免責聲明:文章來源網絡 以傳播知識、有益學習和研究為宗旨。 轉載僅供參考學習及傳遞有用信息,版權歸原作者所有,如侵犯權益,請聯系刪除。
標簽:   微流控芯片
- 上一條Y 型微通道兩相流內部流動特性下
- 下一條微球微流控介紹
